
第一步:打开手机上的“应用市场"或“应用商店”或应用宝、手机助手(如360助手、百度助手)等;
第一步:搜索“消考宝”三个字,搜到后点开并下载安装即可。

第一步:打开微信;
第二步:搜索“消考宝”小程序,安卓手机与苹果手机的搜索方法略有不同,详见以下说明:
1)苹果手机:点击顶部的搜索框,并在搜索框下面的“搜索指定内容”中点击“小程序”,而后在搜索框内输入“消考宝”三个字,最后在打字键盘中点击“搜索”键。
2)安卓手机:点击顶部的搜索图标(放大镜图标),并在搜索框下面的“搜索指定内容”中点击“小程序”,而后在搜索框内输入“消考宝”三个字,最后在打字键盘中点击“搜索”键。
第三步:点击搜索结果中的“消考宝”小程序即可。

第一步:打开微信
第二步:搜索“消考宝”小程序,安卓手机与苹果手机的搜索方法略有不同,详见以下说明:
1)苹果手机:点击顶部的搜索框,并在搜索框下面的“搜索指定内容”中点击“公众号”,而后在搜索框内输入“消考宝”三个字,最后在打字键盘中点击“搜索”键。
2)安卓手机:点击顶部的搜索图标(放大镜图标),并在搜索框下面的“搜索指定内容”中点击“公众号”,而后在搜索框内输入“消考宝”三个字,最后在打字键盘中点击“搜索”键。
第三步:点击搜索结果中的“消考宝”公众号即可。
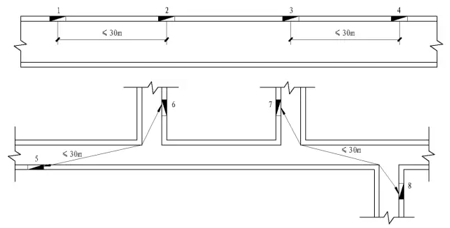
《消防给水及消火栓系统技术规范》GB50974-20147.4.10
室内消火栓宜按直线距离计算其布置间距,并应符合下列规定:
1.消火栓按2支消防水枪的2股充实水柱布置的建筑物,消火栓的布置间距不应大于30.0m;
2.消火栓按1支消防水枪的1股充实水柱布置的建筑物,消火栓的布置间距不应大于50.0m。
室内消火栓不仅给消防队员使用,也给建筑物内的人员使用,因建筑物内的人员没有自备消防水带,所以消防水带宜按行走距离计算,其原因是消防水带在设计水压下转弯半径可观,如65mm的水带转弯半径为1m,转弯角度100°,因此转弯的数量越多,水带的实际到达距离就短,所以本规范规定要按行走距离计算。
1.消火栓按2支消防水枪的2股充实水柱布置的建筑物
在满足2股水柱同时到达任意一点的情况下,消火栓2和3的距离可大于30m。

2.消火栓按1支消防水枪的1股充实水柱布置的建筑物
在满足1股水柱同时到达任意一点的情况下,消火栓2和3的距离可大于50m。
